+7 (499) 702-01-13
+7 (499) 702-03-59
Пн-Пт с 9:00 до 18:00
Поиск бренда
Поиск модели
Каталог схем
WACKER NEUSON
Инструменты
Строительная техника
Виброплиты дизельные
DPU 6555 Hehap (5100009638) Revision 102
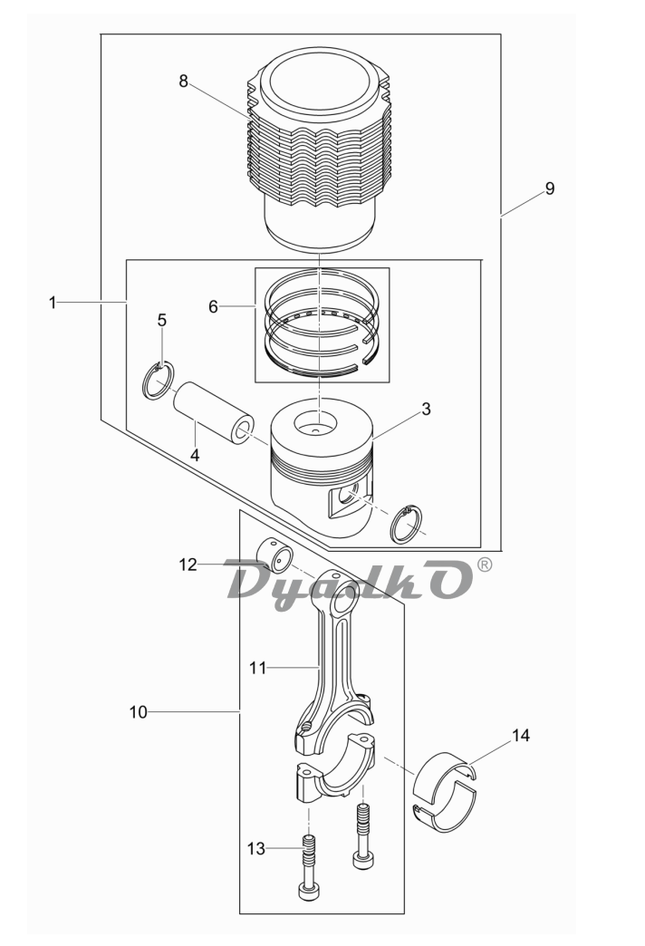
Схема WACKER NEUSON DPU 6555 Hehap (5100009638) Revision 102 Piston-Connecting Rod-Cylinder
1
Piston Kolben; ; ;
4
Piston pin Kolbenbolzen; ; ;
5
Retaining ring Sicherungsring; 30 x 1,2; DIN472;
6
Set-piston rings Kolbenringsatz; ; ;
9
Cylinder with piston Zylinder mit Kolben; ; ;
10
Connecting rod compl Pleuel kpl.; ; ;
12
Bushing Pleuelbuchse; ; ;
13
Connecting rod screw Pleuelschraube; ; ;
14
Bearing Pleuellager; ; ;
15
Connecting rod bearing Pleuellager; -0,5; ;