+7 (499) 702-01-13
+7 (499) 702-03-59
Пн-Пт с 9:00 до 18:00
Поиск бренда
Поиск модели
Каталог схем
CHAMPION (IGP)
Инструменты
Садовая техника
Культиваторы бензиновые и мотоблоки
BC 5602
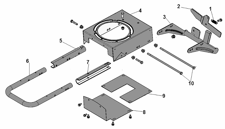
Схема CHAMPION (IGP) BC 5602 Рама
1
Пружина рычага кронштейна колес
2
Рычаг кронштейна колес
3
Кронштейн крепления колес
4
Опора двигателя
5
Левая направляющая рукоятки
6
Рукоятка
7
Правая направляющая рукоятки
8
Передняя крышка опоры
9
Нижняя крышка
10
Болт М8х250