+7 (499) 702-01-13
+7 (499) 702-03-59
Пн-Пт с 9:00 до 18:00
Поиск бренда
Поиск модели
Каталог схем
DEXTER
Инструменты
Аккумуляторный инструмент
Многофункциональный инструмент и реноваторы
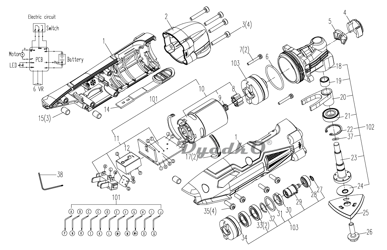
CMT18LD.1 (17336820)
Схема DEXTER CMT18LD.1 (17336820)
10
Электрический мотор
25
Треугольная плата
26
Винты полотна, комплект
38
Ключ патрона
102
Редуктор в сборе
Набор подшипников (больше не продается отдельно с 08/08/19, бери реф 18018019)
Выключатель (больше не продается отдельно с 08/08/19, бери реф 19220000)
Электронная плата (больше не продается отдельно с 08/08/19, бери реф 19220000)
Набор шурупов (больше не продается с 08/08/19)