+7 (499) 702-01-13
+7 (499) 702-03-59
Пн-Пт с 9:00 до 18:00
Поиск бренда
Поиск модели
Каталог схем
HUSQVARNA
Инструменты
Уборочное оборудование
Снегоуборщики бензиновые
ST268EPT (96191005004) 2013
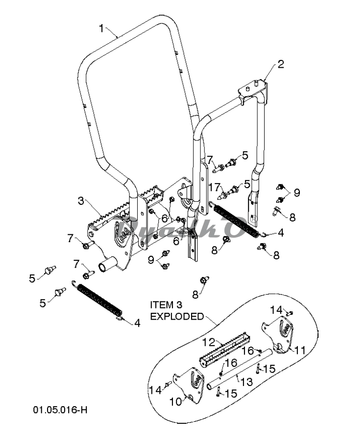
Схема HUSQVARNA ST268EPT (96191005004) 2013 HANDLE 3
1
HANDLE ASSY
2
SUPPORT
3
FOOT PLATE
4
SPRING
5
BOLT
6
NUT
7
SCREW
8
SCREW
9
BOLT
10
PLATE
11
PLATE
12
PEDAL
13
TUBE
14
BOLT
15
BOLT
16
NUT
17
SCREW