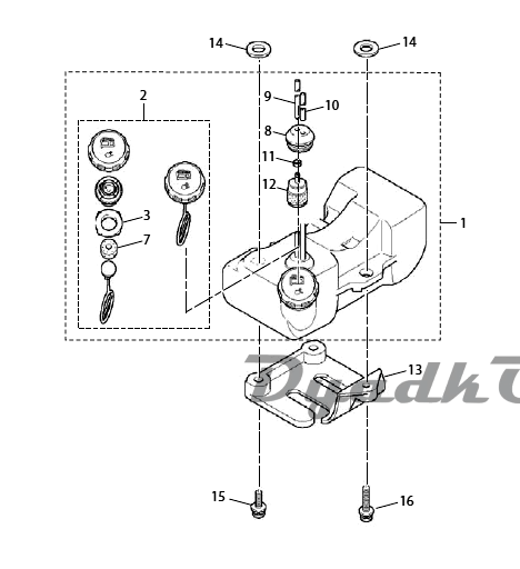
| 1 | FUEL TANK ASSY. Incl.no.2-12 |
| 2 | TANK CAP |
| 3 | SEALING RING |
| 7 | FOAMED MATERIAL |
| 8 | HOSE FEEDTHROUGH |
| 9 | FUEL HOSE L=220 |
| 10 | FUEL HOSE L=75 |
| 11 | HOSE CLAMP |
| 12 | FUEL FILTER |
| 13 | BASE |
| 14 | BUFFER |
| 15 | SCREW & WASHER |
| 16 | SCREW&WASHER |
| 1 | FUEL TANK ASSY. Incl.no.2-12 |
| 2 | TANK CAP |
| 3 | SEALING RING |
| 7 | FOAMED MATERIAL |
| 8 | HOSE FEEDTHROUGH |
| 9 | FUEL HOSE L=220 |
| 10 | FUEL HOSE L=75 |
| 11 | HOSE CLAMP |
| 12 | FUEL FILTER |
| 13 | BASE |
| 14 | BUFFER |
| 15 | SCREW & WASHER |
| 16 | SCREW&WASHER |