+7 (499) 702-01-13
+7 (499) 702-03-59
Пн-Пт с 9:00 до 18:00
Поиск бренда
Поиск модели
Каталог схем
CHAMPION (IGP)
Инструменты
Силовая техника
Генераторы дизельные
DG 2000 E3S
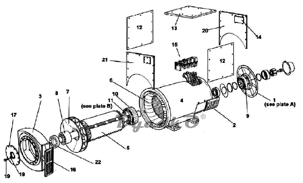
Схема CHAMPION (IGP) DG 2000 E3S Альтернатор
1
N. D. E. Bracket (check attached plate A)
2
N. D. E. Cover
3
D. E. Adaptor SAE-0 (Drive End)
4
Main Frame Only (Non Service Part)
5
Main Rotor Assembly
6
Stator Assembly Complete
7
Fan
8
SHAFT (Non Service Part)
9
Exciter Stator
10
Exciter Rotor
11
Rotating Rectifier Assembly (check attached plate B)
12
Terminal Box Side Panel
13
Terminal Box Lid
14
A. V. R.
15
Main Terminal Arrangement
16
Drive End Screen
17
Coupling Disc SAE
18
Couplinq Disc Washer
19
Coupling Bolt
20
Terminal Box Endpanel N.D.E.
21
Terminal Box Endpanel D.E.
22
Coupling Spacer
23
Foot Hole Reducing Bush