+7 (499) 702-01-13
+7 (499) 702-03-59
Пн-Пт с 9:00 до 18:00
Поиск бренда
Поиск модели
Каталог схем
HUTER
Инструменты
Садовая техника
Культиваторы и мотоблоки бензиновые
MK-15000P (HUC)
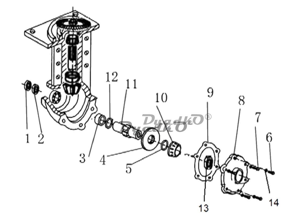
Схема HUTER MK-15000P (HUC) Редуктор 2
1, 2
Сальник 45х62х8
3
Втулка вала для GMC-9.0M(13) HERC,9.0(17) HSD, МК-6700(10) YAH, 11000(13) MEI,9500(13) HFC,11000 HUC
4
Шестерня приводная для GMC-9.0(3-16),MK-6700(12)YAH,11000(16)MEI,9500(16)HFC,8000М/135(12)WGС
5, 12
Шайба регулировочная D=60х45,5мм,H=0,5мм для GMC-9.0(13)HSD,МК-11000(14)MEI,9500(14,17)HFC
8
Крышка редуктора для GMC-9.0(3-19),MK-6700(18)YAHU,9500(20)HFC,8000М/135(18) WGC,11000(20)HUC
9
Прокладка крышки редуктора для GMC-9.0(3-18)HSD,МК-11000(19)MEI,9500(19)HFC,8000М/135(14)WGC
11
Кожух оси для GMC-9.0(15),MK-6700(11) YAH,11000(15)MEI,8000М/135(11)WGC,11000(15)HUC,11000МE(15)SEC